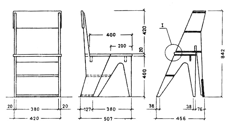
Chair stepladder drawings with dimensions
Of course, any invention that is made independently brings not only money savings, but also incredible pleasure. However, in any business you need to know certain nuances and features of performing all actions. In this article we will try to analyze in detail all the significant points so that the resulting design is as reliable as possible and can be used by the owner for many years to come.
The content of the article
Kinds
Since the presented device is extremely popular, there are a sufficient number of varieties that differ from each other in design. Of course, this is taken into account during assembly. Let's consider each existing model separately, so as not to get confused directly in the process of assembling each part.
Transformable chair
The named type is practically no different from a conventional invention. However, from the usual state you can easily get a unit that is a stepladder. To do this, you just need to disassemble in a certain way all the details inherent in it. Perhaps the main advantage is the fact that the design can complement any interior of a wide variety of types. This is explained by the fact that it is possible to use the chair in two variations.
In this case, design becomes important.Because the degree of approach to the surrounding image will depend on this. For this purpose, experts recommend neglecting decoration, namely painting the seat and back with a separate color. Moreover, it will be better if the shades of the base and other products are in contrast.
ATTENTION! It is important to remember that in the unfolded position the unit has only three stages. In order to complete the assembly, the following points should be adhered to, and the sequence of which should be maintained:
- Parts and drawings with dimensions are pre-prepared separately. They need to be thoroughly sanded using a special machine or sandpaper. In addition, you can use a router if the beams have sharp corners or a very uneven surface.
- For the back, you can use either a plank or a solid piece. In any case, it is secured using self-tapping screws to the sides of the device.
- As for the steps and the seat, the data of the product is fixed thanks to the grooves. To give reliability to the unit, craftsmen advise using glue and screws that are inserted into the original hole.
- At the end of the entire process, all products are fastened together with a piano loop of the required length. Immediately before use, it is advisable to check the quality and practicality of the device made. In case of improper execution, it is necessary to eliminate errors and problems that arise.
High step stool
When thinking about such a structure, you need to understand that it is most similar to an unusual chair, the peculiarity of which is its elevation. In addition, you can see a specially designed compartment that can be pulled out as needed.Unlike the previous device, this one has two steps, however, you can use the seat as a third one.
This happens with the help of certain guides, which are usually used in installing drawers. Directly in the process of performing the steps of the invention, it is advisable not to glue all possible products, because in the future this may lead to operational disadvantages. To complete the manufacturing steps, you will also need blanks for the seat and steps.
- At the beginning of the activity, it is worth selecting four medium legs, two small ones and the same number of crossbars. In addition, there are three front and one rear drawers. It is worth not forgetting about two steps, which will also come in handy.
- After selection, it is worth processing each product as in the previous type of chair. The resulting parts must have the most smooth and even surface possible, so that during operation a person cannot harm himself due to the structure.
- It is very important to monitor the position of the legs in order to avoid problems in the future. The degree at which they should be located is 10. This is the most optimal option, because with it the parts are ideally located, and in parallel.
- As for the collet, the position is 80 degrees.
- The steps should align most accurately with the legs. To do this, you should select certain recesses with cuts.
- To make the middle parts, you need to fix the crossbars. In addition, connect all the drawers, both front and rear. Screws should help in this matter.
- Next, you should create a position in which the entire product is located the way you would like.After which you can screw the guide. All this is necessary in order to check the quality of the work performed. If you have no dissatisfaction and are satisfied with everything, then you can safely begin reassembling and connecting all the components using glue. Using this method, you can quickly identify flaws in the assembled structure and correct defects, since the parts are not initially fixed.
Ladder chair
Speaking about this variety, it is worth understanding that the design is as similar as possible to a step stool. The device is equipped with special slides, with the help of which the compartment itself extends. In addition, it should be mentioned that the staircase unit can be designed either with or without a backrest. It depends solely on the preferences of the future user. Getting started is standard:
- A drawing is created, and then patterns. After which you can begin cutting and processing parts. Everything is the same as in previous situations. That is, the corners are eliminated, thereby creating a perfectly smooth surface. This is the goal at this stage. This must be done for a longer service life.
- When all the parts are ready, you can begin assembly, namely, the sidewalls and other products are assembled. All this is done using self-tapping screws.
- The main part is fixed to the step solely thanks to the piano hinge.
Step stool with spiral module
The name speaks for itself: a device in which parts are pulled out in a spiral motion. It is considered a rather original structure with an unusual appearance. In addition, the design is multifunctional.Therefore, if you want to purchase a structure that is different from others, then this model is just for you. You can also note the fact that the stool has such a property as compactness. To create it, you will have to analyze the following algorithm of actions:
- All corners should be made slightly round, however, except for the top one.
- In other corners it is necessary to make holes.
- The entire structure is assembled according to the previous principle, namely without the use of construction glue. This is also necessary to be able to verify that all parts have been collected correctly.
- If everything is done correctly, you can safely proceed to the reverse steps in order to use both self-tapping screws and glue in the future. After which it is recommended to determine the degree of reliability. In cases of shortcomings, they should be eliminated directly.
What will be required for production?
Of course, before doing the actual work, you need to carefully prepare. The productivity of further actions will depend on this. So, you should collect the following list of items. It includes tools such as:
- Sandpaper, which is used to sand the surface of the wood;
- Construction adhesive;
- Hacksaw;
- Screws;
- Self-tapping screws and other various products for fixing objects to each other;
- Electric jigsaws;
- Screws and dowels to secure every detail;
- Drill and, accordingly, drills suitable for it;
- Guides, and the quantity should be two pieces per set;
- Plane;
- Special varnish and processing agents;
- In addition, you will need to obtain materials directly, namely wooden blocks, the dimensions of which must be separately clarified and clarified. Parameters may vary.

It is best to first make a rough sketch for the activity. He will help you deal with manipulation. In case of possible incidents, you can always refer to the diagram and clarify further actions. It should indicate the most accurate design parameters in different spaces. You can find various options on the Internet, however, you can also do this yourself. But it is worth remembering that when one indicator changes, the subsequent ones must be changed, otherwise the structure will lose reliability and will not be ready to perform its proper functions.
Recommendations

After all the manipulations have been reliably performed, it is recommended to carry out the finishing stage in order to give additional neatness and, if possible, decorate the finished structure. This is done with the help of a special wood varnish in order to give the longest life to the material, as well as protect it from possible rotting. In addition, experts advise using antiseptics first.
REFERENCE! This invention is ideal for helping in the kitchen and other rooms. Do not forget about the possibility of operation during the construction process. Thus, due to the huge range of uses, the invention is in such demand among users.

